Обработка заказов: пн-пт 8:00-17:00 / обед 12:00-13:00 / Прием заказов 24/7
Распродано Скидка

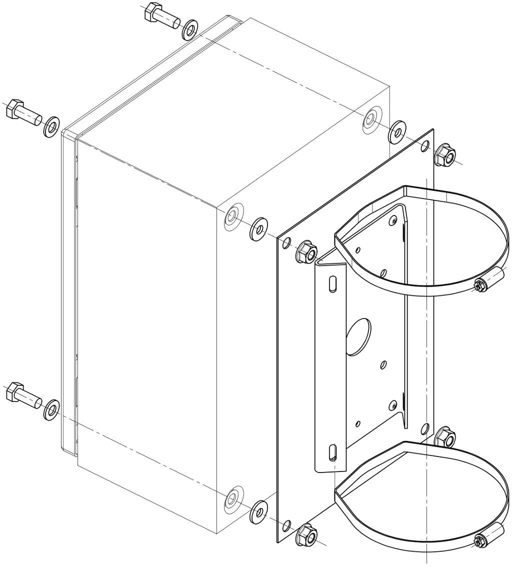
Кронштейн столбовой Тахион КС-6

Артикул: КС-6
Уточняйте цену у менеджера
 
Крепление ШМ-1 (2) на квадратную и круглую опору до 115...135 мм; 280х180х22 мм.
ОПИСАНИЕ
ХАРАКТЕРИСТИКИ

Назначение изделия

Кронштейн КС-6 предназначен для крепления шкафов монтажных ШМ-1, -2 на квадратные и круглые опоры.

Максимальный размер опоры, мм

115…135

Производитель
Тахион
Бренд
Тахион
Объем
1.653
Срок комплектации
Под заказ
Вес (кг)
0.95
Аналогичные товары
Заказ в один клик
Настоящим подтверждаю, что я ознакомлен и согласен с условиями оферты и политики конфиденциальности. Условия оферты и политики конфиденциальности Вы можете найти в нижнем меню - Политика конфиденциальности и оферта.