Маркировка по взрывозащите 1ExeIIBT5Gb | Материал Алюминиевый сплав |
Количество клемм 7 | Степень защиты IP66 |
Максимальное сечение присоединяемых проводов, мм? 10 | Диапазон рабочих температур, °С -60…+85 |
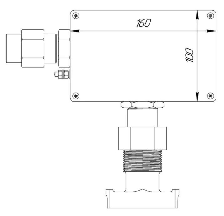
Количество кабельных вводов 2 | Габаритные размеры мм 160х220х80 |
